Application Center - Maplesoft

App Preview:

Design of logarithmic spiral gear by closed complex function in to DXF format

You can switch back to the summary page by clicking here.

Learn about Maple
Download Application




 

 

Design of logarithmic spiral gear by closed complex function in to DXF format

Laczik B. laczik@goliat.eik.bme.hu

Budapest University of Technology and Economics, HUNGARY

 

The present worksheet deals with the complex algebraic representation of the gear tooth contact principles. The formulae deduced with the help of Maple software environment  are closed form solution equations of the contact gear profile to a given rack profile. The worksheet make the final result of gear contour in DXF formatum directly.

 

Profile generation method
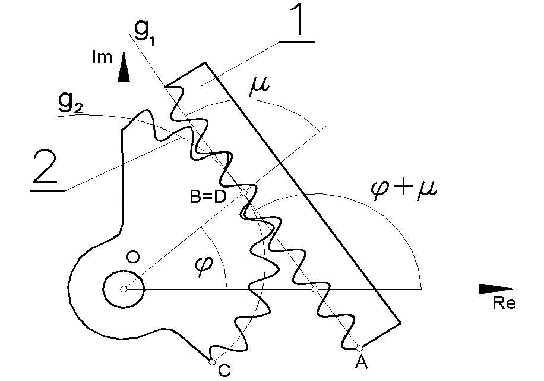
The rolling straight line  of the rack is rolling without slipping on the rolling curve  of the gear with radius  and the rack 1 tooth element is enveloping the 2 tooth of the gear.


The slip less rolling of the pitch line  of the rack on the centrode  of the gear can be constructed from the three following motion elements:


 

I.    the rack moves from the starting position 1 with the distance of AB = CD in the negative direction of the real axis  then
II.   it moves to the position I by a rotation around the origin with the angle   to the position II. (Assuming plain rolling the    gear centrode arc CD and the length of the  rolling strait AB the following equation holds : AB = CD. The polar angle of  pitch curve is   and the angle between of the polar radius OD and the tangent line of   in point D is  .

III   the rack moves from the position II to the point D  of the pitch curve  tangencially to it.

 

With the use of I.-III. motion elements the object enveloped by the motion of the rack and the gear profile in connection with it can be determined in a general way.
Let the rack profile be given by a complex function with the parameter u according to the equation:

                                  p(u):=                                                                                                                             (1)

 

The complex transformation formula of the motion elements I.-III. is given by:

 

                                                                   (2)

 

During rolling the following differential equation is valid for the border form  that is enveloped by the rack tooth:

 

                                                                                                                                       (3)

where   is the slope of the tangent line of the pitch curve.

 

We present as an example the developing of the cosine tooth profile logarithmic spiral gear (the profile introduced in the article: Luo et al: The generation principle and mathematical model a novel cosine gear drive, Mechanism and Machine Theory 43 (2008) 1543-1556), using the complex algebraic method. The formal deduction for an arbitrary given gear rack profile is by following.


Let the equation of the rack profile be:

                                                                                                                                                  (4)

 

The polar equation of the pitc curve of the gear is

 

                                                                                                                                                                            (5)

and the angle between of polar radius and the tangent line is

 

                                                                                                                                                                        (6)

 

Expanding equations (1) - (6)  we get:

 

                                                                                 (7)

 

Solving equation (7) for   yields:

 

                                                                                 (8)

 

The gear tooth profile is a complex equation depending on the parameter u, so by substituting the variable  into the two parameter enveloping equation (2) the solution can be obtained in a closed form.

From the output file of this worksheet by applying the extrude operation of CAD techique we can make very easy the solid model of logarithmic spiral gears.

 

 

 

 

 

 

 

The gear profile generator routine

 

(1)

(2)

 

(3)

(4)

 

 

(5)

 

The DXF file generator routine